前回投稿の
「KT100エンジンの分解! ヘッドとシリンダー取り外し編」の続きです。
ピストンをクランクシャフトから
取り外すには
ピストンピンを抜く必要があります。
ピストンピンを押せば抜ける場合もありますが
抜け止めのリングの溝が膨らみ
抜けない場合も多く、
今回そういう状態でした。
※抜け止めのリングの外し方は前回の投稿を参照ください。
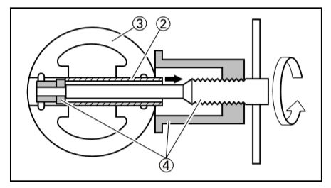
ピストンピンを抜く正式なツールはこれ!

画像の4がツール
3はピストン
2の斜線部がピストンピンです。
買うと高そうだし
作りは単純なので作ってみました。
次のボルトとナットとパイプとワッシャーだけ。

ボルトは8mmで長さが15cm
このボルト用のナットとワッシャー
カート用に使う8mmのロックナット
外径23㎜ 内径18mm 長さ5.8cmのプラのパイプ
※ロックナットを使用したのは外径が小さいから
普通のナットだと大きくてピン穴を通過できない。
さらに
ピストン側を傷つけないようにトガッタ部分を
グラインダーで削った。
これ全部で約300円くらいです。
次のように組み合わせて使います。

このツールは次のように
ピストンにセットします。

ロックナット側から見るとこうなる。

ピストンの左側に見えてるのがロックナット。
ボルトの頭にメガネレンチをかけ固定。
ナットをスパナで回して締めていくと
ピストンピンの後ろにかかる
ロックナットが引っ張られ
同時にピンもプラのホースの方へ入っていくように
引っ張られて出てくる。

次のは引き抜いてボルトに付いたままの状態です。

この作業で外れたピストンとピストンピン

ピストンピンはこの位置に入ってました。

外したピストンの裏側です。

反対側のコンロッドにはベアリングが残っている。

次のようにピストンピンは入っているです。

ベアリングをずらしてみるとこんな感じ
配置がよくわかると思います。

ピストンピンに挿入したベアリング

今回はピストンピンを抜くだけの方法となりました。
次回からKT100エンジンのシリンダーや
ピストンなど
各部の測定方法をお知らせします。
各パーツが規定値にあって
まだ使えるのか?
もう交換すべきなのかの判断のための測定をします。